埇桥区水利局权力运行流程图
埇桥区水利局
2022年12月
权力运行流程图目录
一、............行政许可类流程图
二、............行政裁决类流程图
三、............行政确认类流程图
四、............其他权力类流程图
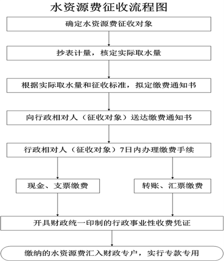
五、............行政征收类流程图
六、............行政处罚类流程图
一、行政许可类流程图
取水许可流程图

水利基建项目初步设计文件审批流程图

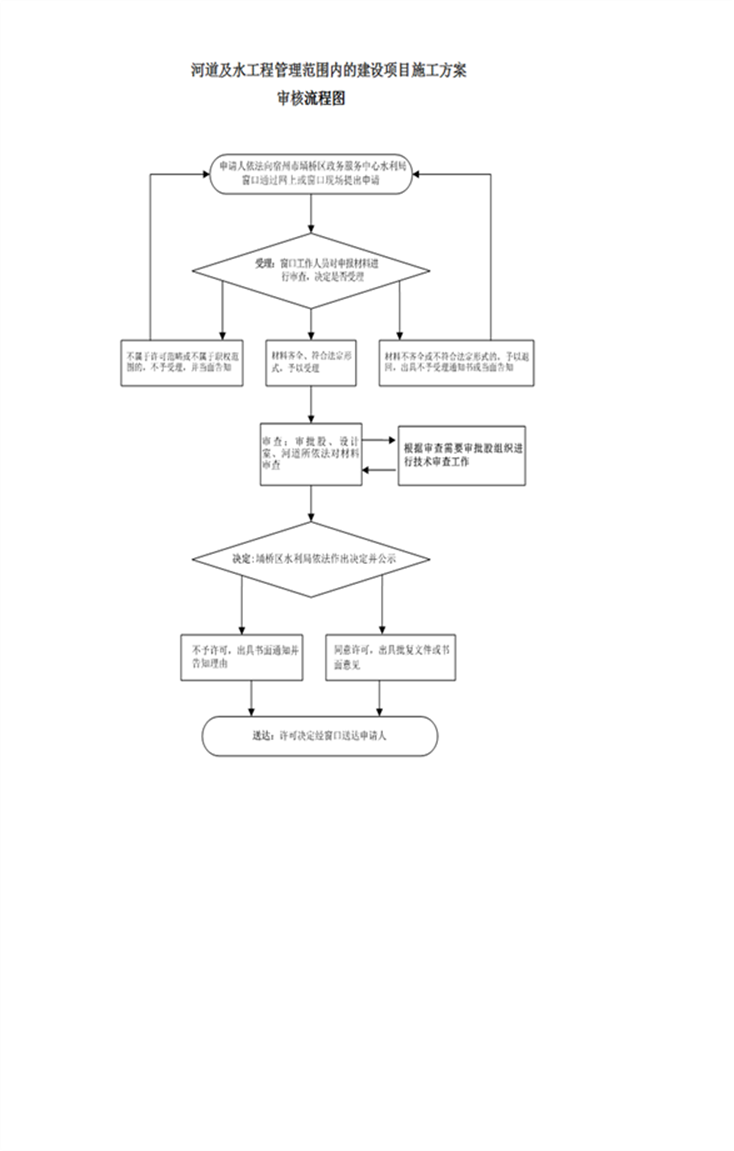
河道管理范围内特定活动审批流程图

洪水影响评价类审批流程图
河道采砂许可

生产建设项目水土保持方案审批流程图

农村集体经济组织修建水库审批流程图

城市建设填堵水域、废除围堤审查审批流程图

占用农业灌溉水源、灌排工程设施审批流程图

利用堤顶、戗台兼做公路审批流程图
坝顶兼做公路审批流程图

蓄滞洪区避洪设施建设审批流程图

在大坝管理和保护范围内修建码头、鱼塘
许可审批流程图

二、行政裁决类流程图

三、行政确认类流程图
水库大坝、水闸安全鉴定流程图

水库大坝、水闸注册登记流程图

水库大坝、水闸变更流程图

水库大坝、水闸注销流程图

四、其他权力类流程图
水利工程政府验收流程图


五、行政征收类流程图


六、行政处罚类流程图
